
聯系電話:0516-85755840
錄入時間:2017-4-25 16:26:12
我公司生產的DWS型系列雙伸縮單體液壓支柱,液壓行程大、支護范圍廣。每種規格支柱,都可替代多種規格的DZ型支柱,適用在煤層賦存復雜、斷層多、煤層厚薄變化大的采煤工作面使用,回采過程中***不需要根據煤層的厚薄變化而頻繁的更換不同高度的支柱,也可用于綜采工作面的端頭支護,其適用于煤礦回采工作面的頂板支護和端頭頂板支護,由于其承載能力大、抗偏載能力強、工作行程大、使用范圍廣,因而其可廣泛應用于薄煤層、中厚煤層及煤層高度變化范圍大的工作面。產品的一、二級工作缸均采用活塞式密封結構,活柱外露表面不是密封面,尤其適用于煤層高度變化范圍大的高酸、高堿性煤礦使用。
本系列產品執行MT112.1—2006《礦用單體液壓支柱》標準。
型號含義:
例如:DWS25—250/110/90
D代表單體液壓支柱; W代表外注式; S代表雙伸縮;
25為支柱的***大高度(dm); 250為支柱的額定工作阻力(KN);
110為支柱的外缸內徑(mm); 90為中缸內徑(mm)。
110/90缸徑系列規格及主要技術特征表
|
項目/型號 |
***大高度(mm) |
***小高度(mm) |
工作 行程(mm) |
工作阻力(KN) |
重量(kg) |
支柱工作 范圍(mm) |
額工壓力(MPa) |
初撐力(KN) |
工作 液體 |
回柱方式 |
|
DWS12-250/110/90 |
1200 |
642 |
558 |
250 |
32.84 |
642-1200 |
39.29 |
95.38~ |
乳化液 |
遠距離和近距離 |
|
DWS14-250/110/90 |
1400 |
718 |
682 |
36.82 |
718-1400 |
|||||
|
DWS16-250/110/90 |
1600 |
796 |
804 |
40.9 |
796-1600 |
|||||
|
DWS18-250/110/90 |
1800 |
870 |
930 |
44.72 |
870-1800 |
|||||
|
DWS20-250/110/90 |
2000 |
943 |
1057 |
48.54 |
943-2000 |
|||||
|
DWS22-250/110/90 |
2200 |
1030 |
1210 |
53.09 |
1030-2200 |
|||||
|
DWS25-250/110/90 |
2500 |
1123 |
1377 |
57.96 |
1123-2500 |
|||||
|
DWS28-180/110/90 |
2800 |
1230 |
1570 |
180 |
63.56 |
1230-2800 |
28.29 |
|||
|
DWS31.5-180/110/90 |
3150 |
1353 |
1797 |
70 |
1353-3150 |
結構及工作原理

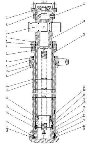
雙伸縮單體液壓支柱由1. 鉸接頂蓋 2.內接柱頭 3.三用閥 4.防塵圈 5.導向環 6.中缸帽 7.連接鋼絲 8.防塵圈 9.導向環 10連接鋼絲 11手把體 12.外缸 13.中缸 14.活塞 15.活塞 16.底座 17.擋圈 18.O形圈 19.復位彈簧 20.Y形圈 21.擋圈 22.導向環 23.連接鋼絲24.O形圈 25.擋圈 26.Y形圈 27.擋圈 28.導向環 29.擋圈 30.O形圈 31.連接鋼絲四 32.活柱 33.彈性圓柱銷零部件組成。